聯系人:曹剛
手機:17503175818
電話:17503175818
地址:河北省泊頭市富鎮北開發區
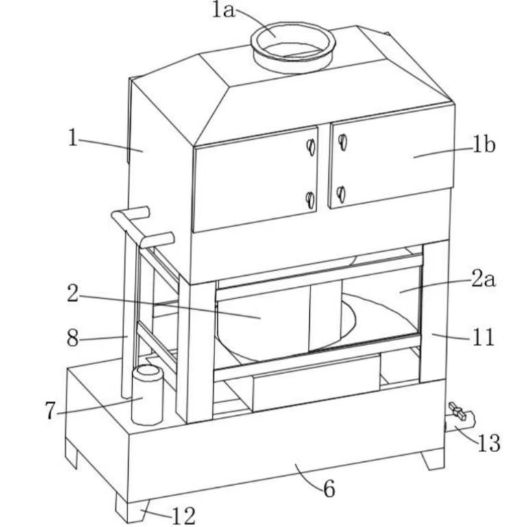
30000風量氣旋混動噴淋塔的風速設計30000風量氣旋混動噴淋塔的特點是處理風量大,易燃易爆隱患,適應粉塵變化。由于含塵氣流向向心圓周高速旋轉,旋風速度隨風量變化而變化,液氣接觸面積和接觸混合時間增大到極限,風速阻力相應減小,從而達到理想的粉塵凈化效果,含塵氣體充分動態運行,因此不存在設備結垢或堵塞等常見問題。目前針對易燃易爆物料的打磨拋光除塵、噴漆廢氣凈化預處理、工業油煙凈化預處理、廚房油煙凈化預處理、鍋爐脫硫除塵、冶煉爐黑煙凈化等工況。

30000風量氣旋混動噴淋塔的產品特點:
1.定制化程度高,可根據企業實際情況量身定制旋風噴霧塔,包括所需風量和功率、管道走向、集氣罩配置等。
2.本發明具有低阻力、節能、低噪音和治理的優點,可處理各種粉塵和廢氣。
3.旋風混合噴淋塔適用于連續和間歇排污處理,管理和操作方便簡單,不會對車間生產造成任何影響。
4.旋風混噴塔的風機轉速由PLC控制,既能滿足車間隨時所需的風量和風速,又能很好地解決運行成本問題,達到節能的目的。

30000風量氣旋混動噴淋塔是根據流體力學工業的技術原理設計的。通過物理技術計算,設計旋流裝置的切向角,以獲得能量的離心力。在風機的牽引下,含塵氣體切向進入高壓離心旋風裝置。在動態調節運行過程中,含塵氣體通過旋風裝置的離心力與含塵氣體充分混合并相互吸收,旋風能量通過圓周運動衰減,達到除塵的目的。
河北省泊頭市富鎮北開發區 電話:17503175818 QQ:576545223 ICP備案號:冀ICP備17032954號-4